SLIFT Plus可分离式福祉座椅,为广汽集团、一汽集团及东风汽车集团官方指定合作产品,安装于MPV中排位置(适用于带移门的商务车)。
与SLIFT Pro福祉座椅相比,分离式福祉座椅旋转出车外并降低高度后,可与机构分离转换为可移动座椅使用,有手动款和电动款供选择。
乘客无需通过对接装置移动到轮椅或其它设备上,可节省二次转移所带来的繁琐操作与时间浪费,使得上下车不方便的老年人、残疾人出行更加无障碍化。
功能特点
可编程模式:座椅的旋转、前后移动、靠背角度及降低高度通过手持遥控开关进行编程设置,程序设置完成后可自动运行;靠背调节与其他运行可同步进行;
自动复位功能:记忆您在车内调整好的舒适位置(前后位置及靠背角度),当座椅完成其他动作重新还原到车内后,会自动恢复到您调整好的舒适位置,无须重复调整;
遇障碍保护功能:遇障碍物自动停止并在显示屏中显示信息;
车门互锁功能:车门关闭时,座椅只可前后移动及缩回,不能转出;
休眠功能:门关10s后自动进入休眠模式实现低静态功耗;通过打开车门或手持开关即可唤醒;
手动应急功能:在电器损坏或无法供电的情况下,可手动收回座椅;
手机APP控制功能:通过蓝牙与手机APP连接,实现手机控制座椅旋转、升降等功能;
升降脚踏:脚踏板在旋转出车外后自动降低高度,舒适性更高;
|
整机 |
可分离电动座椅 |
||||
|
配置 |
参数 |
配置 |
参数 |
配置 |
参数 |
|
额定电压 |
12V |
额定电压 |
24V |
通风 |
选配 |
|
额定功率 |
360W |
额定功率 |
360W |
加热 |
选配 |
|
额定载荷 |
120KG |
额定载荷 |
120KG |
按摩 |
选配 |
|
机构重量 |
159KG |
轮椅重量 |
75KG |
电动腿托 |
标配 |
|
运行时间 |
45S |
运行速度 |
6KM/H |
座椅座面离地高度 |
500mm |
|
升降行程 |
490mm |
续航里程 |
26Km |
靠背高度 |
790mm |
|
靠背动作 |
编程/侧边按键调节 |
脚踏 |
一体式,可电动升降 |
坐深 |
460mm |
|
前后移动 |
425mm |
前轮 |
6寸,万向轮/橡胶轮 |
后轮外至脚踏 |
998mm |
|
外形尺寸 |
800*640*1020 |
后轮 |
8寸,电磁刹,可折叠 |
前后轮的间距 |
825mm |
|
工作环境 |
-30~80℃ |
是否带手刹 |
— |
腿托展开长度 |
810mm |
|
运行噪音 |
空载≤62db 负载≤67db |
控制面板 |
五档调速,带喇叭 电量显示,带照明灯 |
外形尺寸 |
1140*645*1200mm |
|
防护等级 |
IP55 |
充电器 |
220V |
坐高 |
500mm |
|
车辆地板离地高度 |
≤630mm |
防后倾 |
≤25°坡 |
|
|
|
座椅回到车内后总长 |
1020mm |
驻坡性能 |
9° |
|
|
|
座椅回到车内后总高 |
805mm |
爬坡性能 |
≥6° |
|
|
|
座椅回到车内后坐垫总高 |
325mm |
安全带 |
3点式 |
|
|
|
座椅在车内总宽 |
645mm |
电池参数 |
24V,20A |
|
|

|
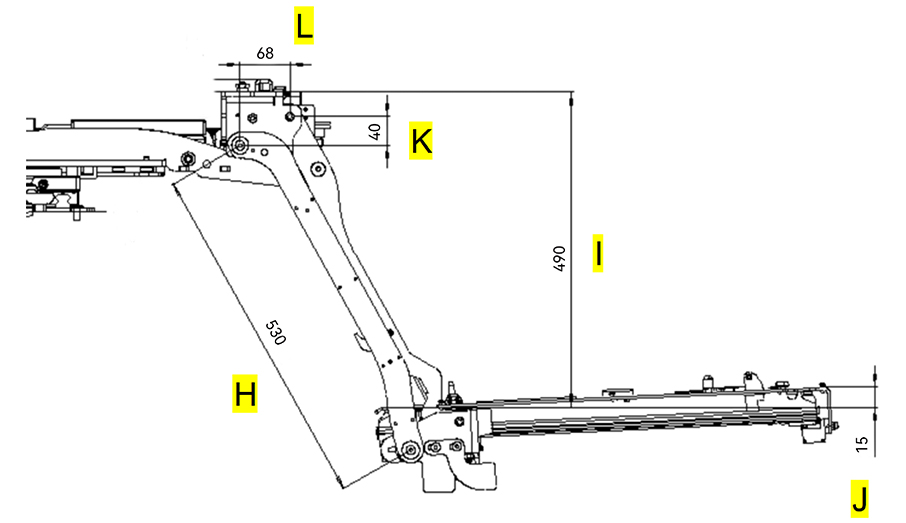
型号 |
底层滑轨长度A |
外形总长B |
外形总高C |
机构安装厚度D |
外形总宽E |
上层宽度F |
后罩壳深度G |
|
SLIFT Plus 新款 |
700 |
705* |
237 |
159 |
438 |
394.5 |
107 |
|
SLIFT Plus 旧款 |
625 |
675 |
237 |
160 |
438 |
396 |
107 |
705*:更改了对接结构增加了产品内部空间利用率,使基座上层长度增加,但对接轮椅后产品总长不变。同时优化了基座上的突起,使对接容差更大,适应地形的起伏不平。

|
型号 |
外连杆中心距H |
下降高度I |
下降后平台前后高低差J |
后拖车Z向 中心距K |
后拖车Y向 中心距L |
|
SLIFT Plus 新款 |
530 |
490 |
15 |
40 |
68 |
|
SLIFT Plus 旧款 |
485 |
400 |
28 |
40 |
70 |
Slift Plus福祉座椅通过国家CCC安全强制认证、欧标撞击测试、拉力测试、EMC电磁干扰测试,以及广汽集团及一汽集团撞击测试、拉力测试、振动测试、防腐测试等共计82项测试的考验。
1. 国标碰撞测试
测试标准:GB 15083-2019《汽车座椅、座椅固定装置及头枕强度要求和试验方法》


2. 广汽传祺主机厂测试


3. 座椅头枕国标测试
测试标准:GB 11550-2009《汽车座椅头枕强度要求和试验方法》





1. 在外形尺寸不变的前提下,底层行程从310mm增加为425mm,相对于老款总行程增加115mm。座椅在车内前后移动距离变长,提高空间灵活性和乘坐舒适度!
2. 相同安装位置,安装后前部空间增加15mm,后移行程增加了80mm,乘客可获得更多腿部空间!
3. 425mm是目前市场上所有同类竞品中的最大底层移动行程!

1. 下降行程从400增加至490mm, 座椅离地面距离更低,更方便乘客在车外落座车辆;
2. 安装要求车辆地板最大离地距离从540mm增加至630厘米,可适配更多高地板车型;
3. 490mm是目前市场上同类竞品中的最大下降行程;

1. 新款可分离座椅新增通风、加热、按摩、电动腿托功能,提高了舒适性;
2. 侧边按键控制,3档可调,操作便捷;

超薄轻型设计,保证头部空间舒适,转出车外时也不容易碰头!
竞品座椅厚度大,导致车内坐高偏高,头部空间小,车内舒适感差,出来容易撞头!

有线手控器、手机APP、微信小程序三端互通,多种操控方式随意选择
续航可达26km,新能源车实时充电,无远程续航焦虑
- 现一体式安装支架减少了安装步骤,加装更简单;2. 新款机构整机由原16Mn钢升级为6mm、700L钢材,强度提高.
国内首款通过国标碰撞测试前装福祉座椅,包含动态碰撞,整车正碰等多项测试
1. UI升级,更换背景色,优化页面,提高易用性
2. 新增亮度调节和支持多语言选择
行驶平稳,颠簸感小,乘坐舒适
电动腿托可以设置和座椅联动运行,在座椅转出/旋入的同时自动收回腿托。
超大踩踏面积,提高乘坐舒适度
- 屏幕由TN电阻屏升级为IPS高亮电容屏;
- 户外使用时亮度更高,阳光下也清晰可见;
- 触摸感好,使用时不需要用力按,更适合老年人。
新款可分离电动福祉座椅新增SBR坐垫感应装置,乘客离开座椅1分钟后,自动关闭通风加热按摩等功能,避免因忘记关闭开关而耗光电量。上车后自动切换车上供电,下车后使用轮椅自己的电池。
摇杆控制方向、速度5档调节、电量显示









